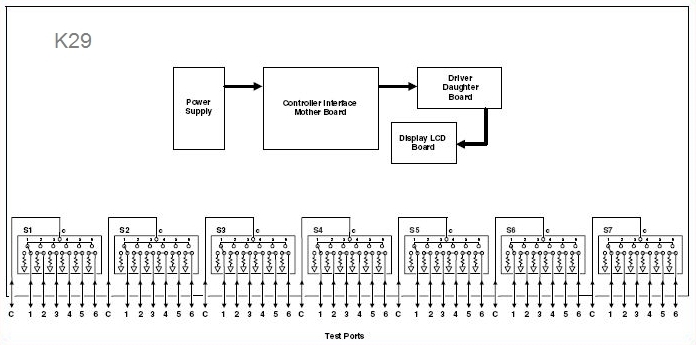
87050A-K29

The test set consists of seven 1 x 6 switches mounted on the front panel.