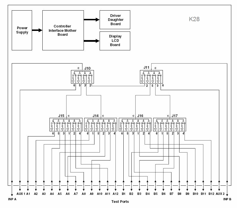
87050A-K28

The test set has two input ports (A and B). Input A can be switched to any of twelve Ax ports or to the Aux A port. Input B can be switched to any of twelve Bx ports or to the Aux B port.