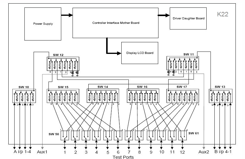
87050A-K22

The test set provides single connection, multiple measurements of multiport devices with up to twelve ports, such as distribution amplifiers, taps, switches and couplers.