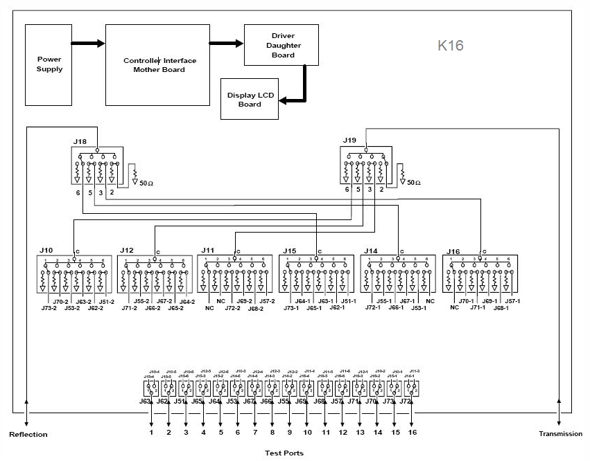
87050A-K16 / H16

The multiport test set provides the ability to make single connection, multiple measurements of multiport devices such as distribution amplifiers, taps, switches, and couplers.